Manipulator Control

MIT 6.421:

Robotic Manipulation

Fall 2023, Lecture 15

Follow live at https://slides.com/d/O5ZHL08/live

(or later at https://slides.com/russtedrake/fall23-lec15)

\begin{aligned} M(q) =& \begin{bmatrix} (m_1 + m_2)l_1^2 + m_2 l_2^2 + 2 m_2 l_1l_2 c_2 & m_2 l_2^2 + m_2 l_1 l_2 c_2 \\ m_2 l_2^2 + m_2 l_1 l_2 c_2 & m_2 l_2^2 \end{bmatrix} \\ C(q,\dot{q}) =& \begin{bmatrix} 0 & -m_2 l_1 l_2 (2\dot{q}_1 + \dot{q}_2)s_2 \\ m_2 l_1 l_2 \dot{q}_1 s_2 & 0 \end{bmatrix} \\ \tau_g(q) =& -g \begin{bmatrix} (m_1 + m_2) l_1 s_1 + m_2 l_2 s_{1+2} \\ m_2 l_2 s_{1+2} \end{bmatrix} , \quad B = \begin{bmatrix} 1 & 0 \\ 0 & 1 \end{bmatrix} \end{aligned}

Full derivation is here.

Keypoint perception + force control

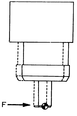
S. H. Drake, “Using compliance in lieu of sensory feedback for automatic assembly.,” Massachusetts Institute of Technology, 1978.

S. H. Drake, “Using compliance in lieu of sensory feedback for automatic assembly.,” Massachusetts Institute of Technology, 1978.

Image credit for Arne Nordmann, 2008

T. Pang et al.  Identifying external contacts from joint torque measurements on serial robotic arms and its limitations, ICRA 2021

Project PUNYO

ぷにょ

Project PUNYO

ぷにょ

Lecture 15: Manipulator Control

By russtedrake

Lecture 15: Manipulator Control

MIT Robotic Manipulation Fall 2023 http://manipulation.csail.mit.edu

  • 3,203